Самовывоз - бесплатно
Низкая инсталляция для подвесного унитаза Geberit Duofix Omega 12 111.030.00.1 со смывным бачком.
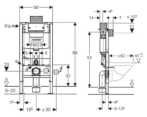
Характеристики:
Монтаж:
Встраиваемая перед стеной.
Самонесущая конструкция.
Рама с C-образным профилем 4/4 см.
Размер: 50 х 98 х 14 см.
Бесступенчатая регулировка высоты ножек: 0-20 см.
Ножки втягиваются на 5 см.
Опорная площадка поворотная.
Стойки с защитой от скольжения.
Шумопоглощающее крепление для фанового отвода.
Расстояние между болтами для монтажа унитаза: 18 или 23 см.
Подключение воды: 1/2 дюйма с левой стороны сбоку/сзади.
Функциональность:
Бачок скрытого монтажа с фронтальным/горизонтальным механическим управлением.
Режим смыва: двойной или одинарный.
Заводская установка объема смыва: 6 и 3 л.
Диапазон настройки большого объема: 4,5/6/7,5 л.
Диапазон настройки малого объема: 3-4 л.
В комплекте поставки:
Монтажная рама.
Смывной бачок.
Две резьбовые шпильки М12 для крепления унитаза.
Угловой запорный вентиль R1/2 для подвода воды.
Ручной маховичок.
Две защитные заглушки.
Коробка монтажная для окна обслуживания.
Комплект соединительных патрубков для унитаза,D9 см.
Переходный патрубок, D 9/11см.
Фановый отвод из ПНД, D 9 см.
Крепежи к полу, для встройки в профиль.
Характеристики
Нет отзывов об этом товаре.
Нет вопросов об этом товаре.
